
深职都不读!200+考生拒收公办录取通知书!明年3+证书复读生猛涨?
发布时间:2024-09-02 09:25:12 来源:广东中职生 阅读:
每年都会有被录取不去读的,我们从新生的报到率就知道,比如比如深职大录取率也就92.3%,广轻工录取率91.6%等等。拒收录取通知书!被公办录取也不去读!公办报到率仅90%?
各位新生:
由于录取通知书邮寄地址不详细或收件人通讯方式变更等原因,下列同学的录取通知书快递被退回我校。
录取通知书退件的同学,9月8日报到当天,考生本人凭身份证到各校区领取录取通知书,再完成后续报到流程。
中山校区:招生与合作部领取
白云山校区、南海校区:到校联系辅导员领取
我校录取通知书已于8月16日后分批寄出。根据邮政EMS工作人员反馈,在邮寄录取通知书的过程中有部分考生未能收到录取通知书,其主要原因有:电话无人接听、电话号码错误或空号、地址不详、出门在外无法接收等,目前已将无法投递的录取通知书退回我校。
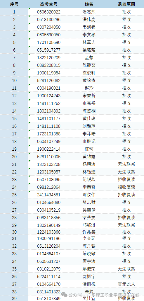
退回录取通知书名单
考生如未收到录取通知书,9月18-19日仍可来校报到。在迎新现场,先到教务处办公点凭身份证领取退回的录取通知书或办理录取证明,再去二级学院完成报到流程。
为了缓解考生及家长等待录取通知书的焦虑、最大程度地减少对新生入学报到的影响,未收到通知书的考生可在9月7-8日期间来校后,首先到学生处凭身份证、准考证领取已退回的通知书或办理录取证明,然后到相关二级学院完成报到手续。
中高职三二分段转段
学考
3+证书
拒收大学录取通知书、不在规定的时间到大学报到,一般可以理解为放弃入学资格。而这些放弃入学资格的同学,多半会选择复读,再加上今年落榜人数,那明年3+证书高考的复读人数和竞争激烈程度就可想而知了……
所以中职同学更要好好把握接下来的3+证书,毕竟这是你们为数不多的优势之一了。不少普高生看见今年的高考情况都说春季高考被录取的赢麻了,实际上中职生的3+证书也赢麻了!
之前就和大家探讨过,今天就再单从报考人数和分数线这两个非常大的优势来简单说说!
1.报考人数少、竞争小
目前3+证书以每年约3万人的幅度增加,但与高考的动则几十万的人数相比,还是小巫见大巫,甚至在今年普高生的学考中,报考人数超四十万了。
因此,从竞争人数来看,3+证书的考生相对少太多了,竞争激烈程度相对较低。
2.考试难度低、录取门槛低
3+证书考试仅需考语数英三科,考试难度介于初中与高中之间,相较于普通生的学考和夏季高考,考试范围和难度已经小很多了。不仅如此,三类考试的省控线也有不同:
●2024年3+证书本科省控线为260分,专科省控线仅为115分,补录甚至降到105分。
●2024年普高生的学考,跟3+证书同样是只需考语数英三科,总分为450分,但专科普通类省控线却是185分,补录一分没降仍是185分,均比3+证书的高。
●2024年普高生的夏季高考,普通类专科省控线为200分,普通类本科省控线要428分以上(物理类442分,历史类428分)。
这样一看,3+证书不仅考试难度低,且录取门槛也低很多,中职生考大学是不是更容易呢!
综上所述,两者对比。想必各位中职同学多少都有了点底气。但是也要提醒大家,3+证书的形式也是在逐年复杂,考生人数也是逐年增加。最为稳妥的办法还是增强自己的基础知识水平,只有如此才能更好的使自己立足于不败之境界!
零基础如何备考
学习方法上大撕兄根据3+证书高职高考招生对象,将备考人群分为中职在校生和社会生两大类。根据往届考生的经验给大家分享一些有效的备考方法,供同学们参考~
在校生-网课自学
这两年网课自学的方式风靡中职在校生群体,没有时间、空间限制,手机、平板、电脑都可以用来学习网课。大多数在校生,都会选择在课后、放假期间通过学习网课来累计知识储备,拉近和同学间的差距。新易学网课全面升级!名师授课、在线答疑、课程随时回放!线上价格线下班体验!
教材选择
网课学习前,教材的选择也非常重要,可以选择类似新易学绿皮书这样的3+证书专业辅导书,里面都是根据3+证书考纲考点,编制的考点解析、详尽的讲解、案例和习题及讲解等等,能够提供系统性的知识框架,配合网课学习,能够帮助同学们深入理解和运用知识,对制定学习计划和备考策略起重要的指导作用。
(点击图片进入购买)
往届生、复读生-参加辅导班
对于已经毕业的往届生、复读生(社会考生)来说,线下的辅导班是更合适、有效的选择。
如果觉得自己独立备考有困难,可以考虑参加专业的辅导班。有系统的课程设置、专业的教师和大量的模拟考试,可以帮助你更全面地备考。
此外还有一些小技巧,可以帮助同学们在日常的备考中提高效率和改善学习效果。
心态调整:面对激烈的竞争,保持一个积极、乐观的心态非常重要。特别是复读生,不要给自己太大的心理压力,始终要相信自己的努力会有回报,并相信自己能够上岸!
新易学高职高考辅导班2025招生中
全日制模式,0基础教学
定制型授课,因材施教
实力师资力量,直击考点
新易学更懂中职生
用最实用的方法,更快提升成绩
学位有限,事不宜迟,要报名的赶紧咯!
联系方式
吴老师:156 2217 8667
林老师:155 2133 3095