
多校要求新生入学资格证书核验!中职生毕业证不见了怎么办?
发布时间:2024-08-22 09:39:27 来源:广东中职生 阅读:
临近开学
多校发布新生到校应带材料
其中包括高中阶段学校毕业证书或同等学力证明
强调无相应证书证明将不予报到和注册
(广东科学技术职业学院)
(广东理工职业学院)
但是,问题来了
毕业证原件不见了怎么办?
想要查询毕业证的真伪去哪里查?
别急
大撕兄来告诉你!
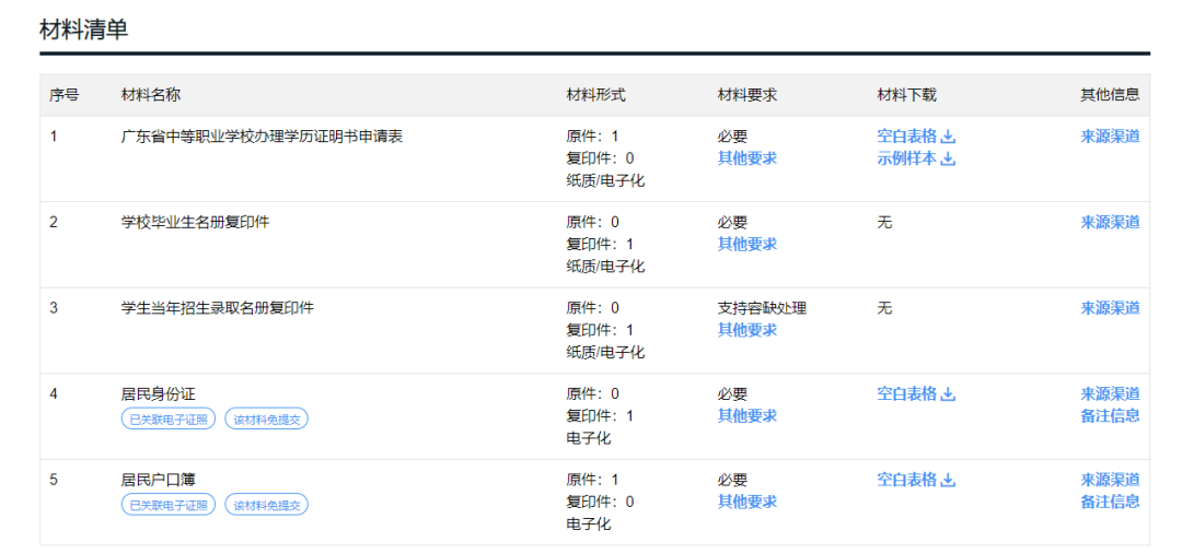
广东省中职生毕业证原件遗失、毕业真实性证验证等,可通过“开具学历证明”服务申请纸质版中职学历证明书,学历证明书和毕业证书具有同等效力。
网上申请方法
在电脑浏览器上打开“广东政务服务网”
(www.gdzwfw.gov.cn)
搜索“出具中等职业学校毕业生学历证明书”,进入申请人求学时学校所在地市网络入口,选择学校所在城市(部分城市未开通线上办理服务),选择在线办理,根据网页提示上传申请和本人身份证等资料,平台确认资料符合要求,则可转到相关地市教育局,经查核后,出具申请人中专学历证明。
核对需上传的材料,按要求进行办理,上传后等待申请结果。