
2025年参加3+证书考试,广东户籍和非广东户籍报名需要什么材料
发布时间:2024-09-18 11:12:54 来源:广东中职生 阅读:
随迁子女的条件也可报考
广东3+证书考试
2024年高职高考随迁子女
认定在10月底截止
同学们你们的资料准备好了吗
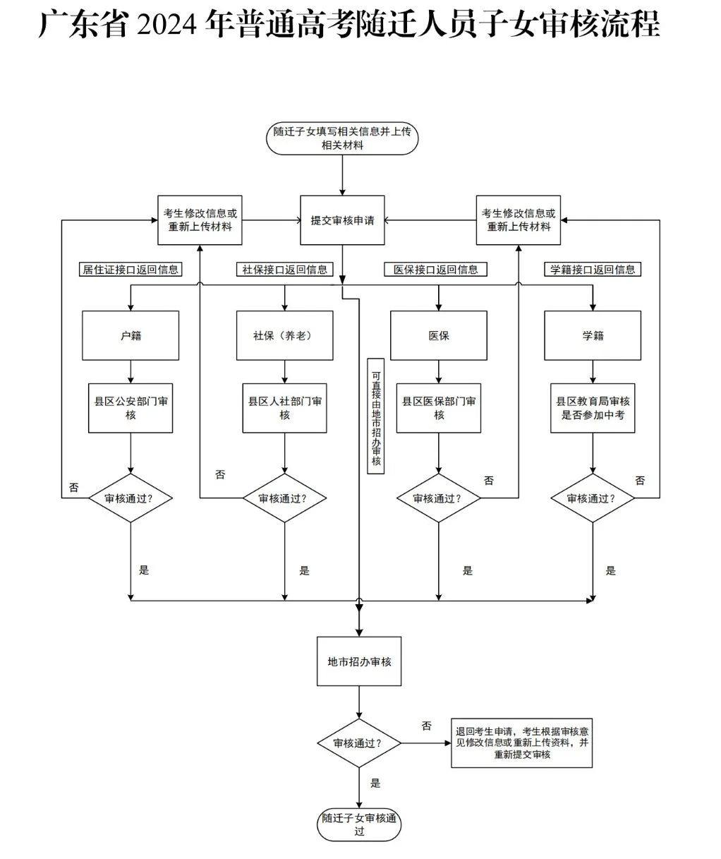
随迁子女考生:
随迁子女考生在高考报名前应提前办理《广东省进城务工人员随迁子女高考报名资格审核表》。办理流程如下:
1.考生提交材料。考生填写《随迁子女资格审核表》,并提交本人身份证、户口簿、父母居住证、父母社保(含养老保险和医疗保险) 缴费证明等材料给所在中学进行资格初核
2.中学初核。中学负责对《随迁子女资格审核表》进行初核初核主要包括考生所填信息是否真实准确,是否符合我省随迁子女报考条件。经初核,符合报考条件的,根据各市县制定的随迁子女高考报名具体工作流程,报相关职能部门审核。不符合我省报名条件的随迁子女,所在中学应及早做好解释和学生分流工作,引导学生尽早回户籍所在地参加高考报名。尤其是艺术类体育类、中职类等特殊类型考生,因考试时间较早,一旦错过当地高考报名将无法安排考试。
3.职能部门审核。各市县根据本地随迁子女审核工作流程充分利用数据联审等方式,对随迁子女考生报名资格进行审核,办理《随迁子女资格审核表》盖章等。审核结果应尽早告知考生。
4.考生录入信息。审核通过的随迁子女考生应在网上预报名后,通过高考报名系统输入《随迁子女资格审核表》相关信息并在报名确认时,连同身份证、户口簿等报名材料到报名点办理报名确认手续。
广东高职高考随迁子女审核需要多久?
答:五个工作日。
注:有些地方只需要盖2个章,可联系当地教育局咨询了解
根据考试院最新通知职能部门会通过利用数据联审等方式节约时间,有些地区教育局也可以统一办理,具体情况需咨询当地教育局为准。
一、随迁子女在我省就读中等职业学校,并同时符合以下条件的,可在我省报名参加高等职业学院招收中等职业学校毕业生招生考试(即:“3+专业技能课程证书”考试和高职院校对口自主招生考试):
(一)父亲或母亲在我省具有合法稳定职业;
(二)父亲或母亲在我省具有合法稳定住所;
(三)父亲或母亲持有我省居住证,已连续3年以上(含3年);
(四)父亲或母亲在我省依法参加社会保险缴费累计3年以上(含3年);
(五)随迁子女具有我省中职学校3年完整学籍;
(六)拟在我省报名参加高考的随迁子女,其父亲或母亲在我省依法参加社会保险缴费年限、持有我省居住证有效期以及随迁子女中职学校阶段完整学籍年限的计算截止时间统一为高考录取结束前(8月31日)。
二、随迁子女在我省就读普通高中,同时符合以下条件的,可在我省报名参加高考:(一)父亲或母亲在我省具有合法稳定职业;
(二)父亲或母亲在我省具有合法稳定住所;
(三)父亲或母亲持有我省居住证,已连续3年以上(含3年);
(四)父亲或母亲在我省依法参加社会保险缴费累计3年以上(含3年);
(五)随迁子女在我省参加中考;
(六)随迁子女具有我省高中阶段学校3年完整学籍;
(七)拟在我省报名参加高考的随迁子女,其父亲或母亲在我省依法参加社会保险缴费年限、持有我省居住证有效期以及随迁子女高中阶段完整学籍年限的计算截止时间统一为高考录取结束前(8月31日)。
三、符合报考条件的随迁子女报名参加高考,应当在当年高考报名规定的时间内,持本人身份证、居民户口簿及相关的证明材料按要求到就学学校所在地的市、县(市、区)招生考试机构指定的报名点办理报名手续。随迁子女报名时,应提交以下材料原件和复印件:
(一)父亲或母亲在我省具有合法稳定职业证明:提供《广东省就业失业登记证》《劳动合同》《工商企业登记证》等其中一项有效证明材料;
(二)父亲或母亲在我省具有合法稳定住所证明:提供房地产权证、购房合同、房屋征收(拆迁)补偿协议、房屋租赁合同、房屋租赁登记备案证明等其中一项有效证明材料;
(三)父亲或母亲的《广东省居住证》(在深圳市报考的提交《深圳市居住证》);(四)父亲或母亲在我省累计缴费3年以上(含3年)的职工基本养老保险和基本医疗保险证明材料;
(五)随迁子女在我省参加中考及在我省高中阶段学校3年完整学籍的有关证明。
(1)广东省教育考试院组考和颁发的14种专业技能课程证书。
(2)教育部考试中心组考和颁发的全国计算机等级证书、全国英语等级证书。
(3)人力资源社会保障部门备案的职业技能考核鉴定机构、经人力资源社会保障部门备案公布的职业技能等级评价机构颁发的汽车维修工、电工等52种中级及以上职业资格证书或职业技能等级证书。
(4)卫生行政主管部门颁发的护士执业资格考试成绩合格证明或护士执业证书。
(5)“1+X证书制度试点”职业技能等级证书
*退役士兵报考高等职业院校,需参加全省统一文化科目考试,不设证书要求。
中职技能证书哪个等级可报3+证书?
●报考时间:每年11月左右
●语数英考试时间:每年1月左右
●报考流程:①网上注册②资料审核和领考生号③网上报名④现场确认报名
报名3+证书考试
2024年1月
3+证书语数英考试
2024年1-2月
语数英成绩公布
2024年2-3月
最低省控线公布
2024年3月
填志愿、本科职业技能考核
2024年4月
投档录取
2024年5-8月
发录取通知书
2024年9-10月
大学开学
1、身份证原件及复印件
2、户口簿原件及复印件
3、自行报名的需提供在校证明
4、考试院指定的技能证书原件及复印件。(没有的话,可以先报名,在填志愿前补回即可!)
1、身份证原件及复印件
2、户口簿原件及复印件
3、中职毕业证及复印件
4、考试院指定的技能证书原件及复印件。(没有的话,可以先报名,在填志愿前补回即可!)
1、身份证原件及复印件
2、户口簿原件及复印件
3、在校证明(自行报名需带)/中职毕业证及复印件
4、考试院指定的技能证书原件及复印件。(没有的话,可以先报名,在填志愿前补回即可!)
5、《随迁子女资格审核表》(需提前办理)
6、父母亲其中一方的居住证
7、父母亲其中一方的社保缴费证明
8、父母亲其中一方的合法稳定住所证明(如租房合同、房屋租赁登记备案证明或购房合同、房产证明等)
9、父母亲其中一方的合法稳定职业证明(如劳动合同或营业执照等职业证明)