
22年3+证书高考网上报名信息如何填?步骤详解来了|记得收藏
发布时间:2021-10-14 14:58:23 来源:大撕兄 阅读:
01
3+证书报名有什么步骤流程?
报名流程基本分为四个部分:上网注册-报名资格初核-网上报名-确认报名。
上网注册:11月1日-10日
资格初核:注册后—网上报名前
网上报名:11月1日-10日
现场确认:11月6日-10日
注:由于22年注册以及报名系统尚未开放。以下流程以21年为例,如与新系统有出入,请以新系统为准。等考试系统开放了,大撕兄也会进行教程更新,请保持关注【广东中职生】公众号
一、上网注册
四步完成:注册页面→填写注册信息→修改属性→完成
注册流程
01
第一步:登录网址
快速进入注册网址
第一步
扫描关注公众号
第二步
点击自菜单「高考报名」
网址为:https://pg.eeagd.edu.cn/ks
02
第二步:填写注册信息
03
第三步:登录账号
03
第三步:修改属性
04
第四步:编辑考生属性
05
注册完成!
这时还未派号。
修改完考生信息就已经注册好了,
然后就等待11月1号-6号到考点提交资料,报名拿考生号。
拿到考生号后,登陆报名系统进行资料的填写。
就是第二步↓
二、资料审核和领考生号
在网上预报名前,考生应事先准备相关报名材料,前往所在中学或县(市、区)招生办公室进行报名资格审核,和领考生号。
▲应届生:
在校报名:听从学校安排,统一上交报名资料给学校进行审核,由学校派发考生号。
自己报名:携带户口本(含复印件)、身份证、在校证明、技能证书等相关报名资料,前往学校所在地或者户籍所在地招考办进行报名资料审核和领取考生号。
▲往届生、社会生等:
携带户口本(含复印件)、身份证、技能证书、毕业证(或高中同等学力证明)等相关报名资料,前往户籍所在地招考办进行报名资料审核和领取考生号。
报名地点
技能证书
三、网上预报名(11月1-6日)
2021年高考预报名流程如下
【阅读诚信承诺书】-【填写基本信息】-【填写联系方式】-【填写个人简历】-【填写家庭关系】-【填写报考科目】-【上传资料】-【交纳报考费】-【采集照片】
我省2021年普通高考报名工作将于2020年11月1-10日进行。报名网址:https://pg.eeagd.edu.cn/ks;考生预报名时间为11月1-6日,确认时间为11月6-10日
网上报名需要领到考生号才能填信息!
“3+证书”具体报名流程网上预报名(11月1-6日)
2021年高考预报名流程如下
【阅读诚信承诺书】-【填写基本信息】-【填写联系方式】-【填写个人简历】-【填写家庭关系】-【填写报考科目】-【上传资料】-【交纳报考费】-【采集照片】
1、登录网址:
https://pg.eeagd.edu.cn/ks
注:忘记密码的同学,可以点击下方【忘记密码】,通过手机号码,身份证号与姓名找回密码。
5、学业水平
遇到学业水平,直接选择跳即可!
6、填写联系方式
3+证书考生选择自己的技能证书至少选择一个或多个。
10、上传资料
11、检查报考信息
资料提交完成后,会弹出考生信息状态栏,上面清晰提醒考生各种填报状态,包括缴费、相片采集、审核材料审核等。如有遗漏的步骤,考生可以通过点击旁边的绿色按钮直接进入操作页面。
如果基本信息有错的话,可以点击头像下方【基本信息修改】进入修改。
12、交报名费
交报名费是预报名非常重要的一步。点击【网上交费】,即可进入交费页面。
缴费页面会显示考生的报考科目、费用等信息,需要注意的是一旦交费成功,就不可以再修改报考科目,所以同学们一定要检查清楚。
交费成功后,记得还要去考试院官方小程序进行照片采集,考生在预报名完成后,才能进行相片采集操作。
如果在考试院小程序中无法正常采集并上传相片,可以在现场确认报名时,让工作人员报名重新采集相片。
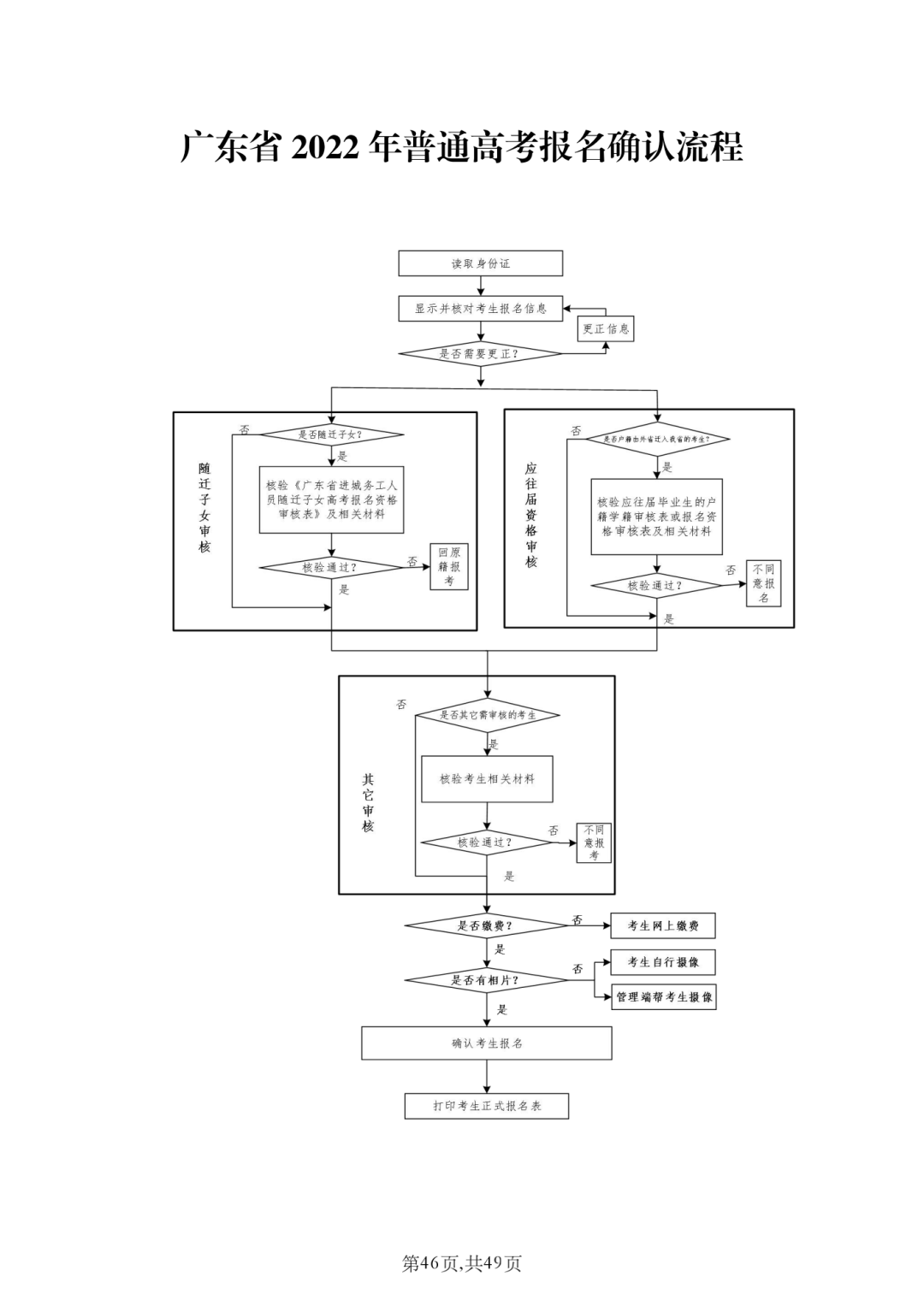
四、现场确认报名(11月6-10日)
在原来拿考生号的地方确认
(点击查看大图)
04
“3+证书”报名前没有证书怎么办?
未取得专业技能课程证书,且报名参加2021年1月由省教育考试院组织的专业技能课程证书考试的考生,可先参加报名。
考生需取得专业技能课程证书后,方可参加普通高校招收中职毕业生“3+专业技能课程证书”考试的投档录取。
获得专业技能课程证书、但未能通过高考报名系统核验的考生,需于填报志愿前携带本人身份证、专业技能课程证书原件、复印件到地市招生办办理证书确认手续。
(点击放大图片查看)
解读:
报名前没拿到证书的同学可以报名参加考试,
但在录取前还没取得证书的,无法被学校录取。
END